首页
学习
活动
专区
圈层
工具
发布
首页
学习
活动
专区
圈层
工具
MCP广场
社区首页 >专栏 >【网络安全产品大调研系列】2. 体验漏洞扫描

【网络安全产品大调研系列】2. 体验漏洞扫描

原创
作者头像
于顾而言SASE
发布2025-06-10 09:34:07
发布2025-06-10 09:34:07
1430
举报
文章被收录于专栏:网络安全随笔网络安全随笔

前言

2023 年漏洞扫描服务市场规模预计为 3.06(十亿美元)。漏洞扫描服务市场行业预计将从 2024 年的 3.48(十亿美元)增长到 2032 年的 9.54(十亿美元)。预测期内漏洞扫描服务市场 CAGR(增长率)预计约为 13.45% (2025 - 2032)。

由于网络攻击的日益普遍以及组织保护其敏感数据和系统的需求不断增长,漏洞扫描服务市场的需求正在激增。该市场预计将出现强劲增长,预计到 2032 年市场规模将达到 95.4 亿美元,复合年增长率为 13.45%

主要市场驱动因素包括基于云的解决方案的不断采用、不断变化的要求数据安全措施的监管环境以及扩大攻击面的物联网设备的激增。组织正在积极寻求先进的漏洞扫描服务,以识别和减轻潜在的安全漏洞。

最近的趋势表明,组织正在向托管服务转变,即组织将其漏洞扫描需求外包给专业提供商。此外,对能够持续监控系统并及时解决漏洞的自动化漏洞扫描工具的需求不断增长。基于云的漏洞扫描服务因其可扩展性和成本效益而越来越受欢迎,使组织能够有效地扫描整个基础设施

这里实际体验一下绿盟科技的RSAS漏洞扫描和配置管理的产品,让我们看看一个顶尖的漏洞扫描产品有哪些功能。( 假产品经理上线!)

1. 大屏

可以查看统计周期和当前权限范围内所有主机的风险值的安全信息和风险值分数。单击饼图,在弹出的对话框中,可以查看相应风险等级的所有主机的相应风险值的详情, 风险值是通过主机的漏洞扫描进行计算得来。

  • 主机风险等级分布

可以查看统计周期和当前权限范围内主机的风险等级分布情况。鼠标悬停于整体风险等级分布图内时,将显示整体风险的统计百分比、统计样本 及安全性。单击饼图,在弹出的对话框中,可以查看相应风险等级的所有统计主 机的风险值的详情。

  • 资产风险分布趋势

可以查看统计周期和当前权限范围内主机的漏洞分布趋势和不合规检查项分布趋势。

  • 资产统计TOP

对存活主机资产的系统类型进行统计; 对存活主机资产的开放端口进行统计; 对存活Web资产(站点设备)的服务器类型进行统计; 对存活Web资产(站点设备)的组件框架进行统计;

  • 资产统计

以数字的方式,展示当前漏洞库总数和资产IP总数。

2. 任务扫描

  • 任务类型

本质都是一个任务,针对扫描参数,扫描模板的不同,进行扫描,主要分为以下因素:

扫描目标 + 执行方式 + 漏洞模板(web or 主机) + 调度优先级 + 口令猜测 + 端口扫描 + 漏洞验证 + 报表输出

主机扫描目标

web扫描目标

爬虫并扫描的范围。按域名扫描:

− 整站扫描:扫描父域名及子域名下的所有URL。

− 扫描子域名:只扫描父域名及此处配置的子域名下的所有URL,不扫描 其它子域名。

− 不扫描子域名:不扫描此处配置的子域名,只扫描父域名及其它子域名 下的所有URL。

执行频率

漏洞模板库

漏洞库分类

口令猜测

报表设置

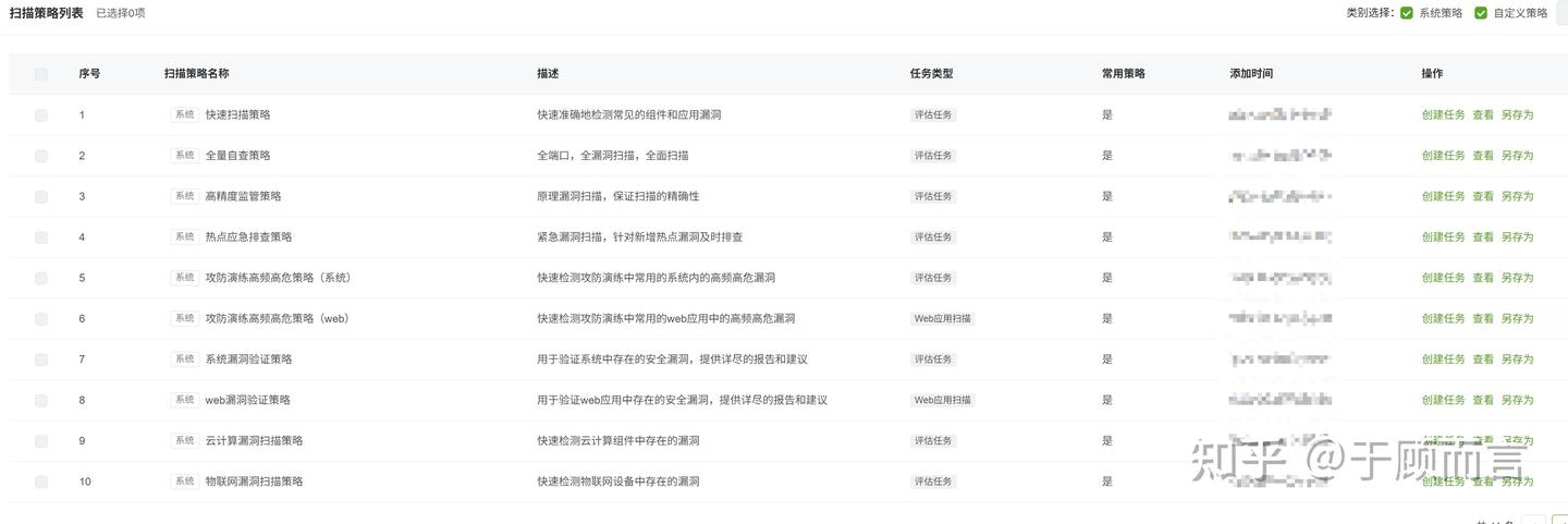
  • 常用扫描策略

其实就是一些绿盟提前配置好的评估任务,比较典型的扫描场景,当然我们可以针对自己IDC或办公网的特点,定制自己的扫描策略。

  • 任务列表查询

页面可以进行重新扫描或者断点续扫

3. 知识库

知识库才是核心中的核心,里面包含了几大功能,分别是:

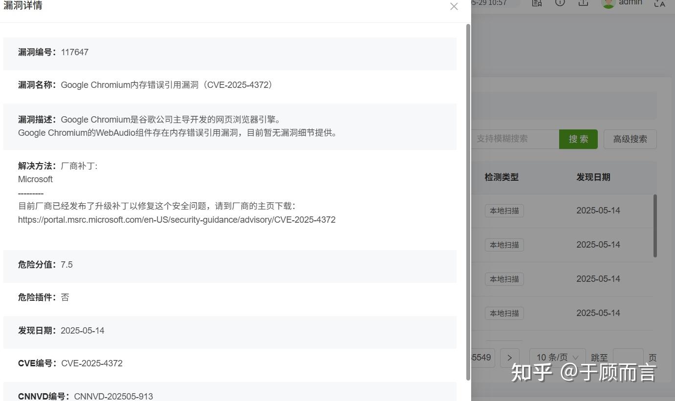
  • 漏洞库

漏洞详情

35w+的系统漏洞库,2400+的web漏洞库,看出实力了吧

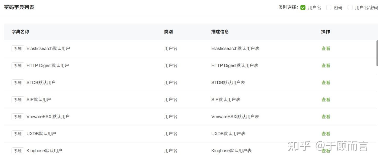
  • 弱口令密码字典

一些常用中间件的默认密码

  • 离线检查工具

针对于不同公司或规范要求的系统配置

  • 加固知识库

包含一些检查项,根据这些检查项进行整改,类似于等保

  • 端口列表

这里面记录一些知名端口号,每个端口号+协议,对应哪些服务,当然还可以自定义

4. 告警平台

对风险进行状态管控,方便加固+验证+闭环

5. 系统管理

  • 系统状态

流量的一些统计

这里面可以看出,授权方式不光有证书时间限制,还有任务个数限制

  • 配置

这个没啥,毕竟漏扫机器本质也是一台linux系统,可以配置网卡和路由的信息,对于时间敏感性,还可以对系统时间进行同步,还一些漏扫的任务配置

  • 升级备份和回滚

用户的管理,分权分域

一些debug工具,我最爱用了

6. Reference

https://www.doc88.com/p-6721326727531.html

https://www.wiseguyreports.com/cn/reports/vulnerability-scan-service-market

https://mkp-res.hc-cdn.com/mark

原创声明:本文系作者授权腾讯云开发者社区发表,未经许可,不得转载。

如有侵权,请联系 cloudcommunity@tencent.com 删除。

原创声明:本文系作者授权腾讯云开发者社区发表,未经许可,不得转载。

如有侵权,请联系 cloudcommunity@tencent.com 删除。

评论
登录后参与评论
0 条评论
热度
最新
推荐阅读
目录
  • 前言
  • 1. 大屏
  • 2. 任务扫描
  • 3. 知识库
  • 4. 告警平台
  • 5. 系统管理
  • 6. Reference
领券
问题归档专栏文章快讯文章归档关键词归档开发者手册归档开发者手册 Section 归档