
周报汇总地址:http://www.armbbs.cn/forum.php?mod=forumdisplay&fid=12&filter=typeid&typeid=104

视频版:
https://www.bilibili.com/video/BV1Gw4m1k7jw
1、开源多功能USB2.0高速分析仪
开源固件和原理图
User documentation https://cynthion.readthedocs.io/en/latest/ Board schematics and design files: https://github.com/greatscottgadgets/cynthion-hardware LUNA Gateware: https://github.com/greatscottgadgets/luna Debugger Firmware: https://github.com/greatscottgadgets/apollo
开源软件
Cynthion: https://github.com/greatscottgadgets/cynthion LUNA: https://github.com/greatscottgadgets/luna Facedancer: https://github.com/greatscottgadgets/facedancer Packetry: https://github.com/greatscottgadgets/packetry
这个项目已经持续三年了,最早2021年的时候给大家分享过,就是下面这个帖子:
https://www.armbbs.cn/forum.php?mod=viewthread&tid=107920
早期的设计还比较简陋:


现在已经做出了最终的成品效果:

对产品起了一个全新的名字叫Cynthion ,它可以用作高速 USB 协议分析器、USB 研究多功能工具或 USB 开发平台

且可以作为USB教育学习平台:

技术规格:

2、开源100W微型无刷伺服电机控制器
https://www.crowdsupply.com/odrive-robotics/odrive-micro
开源说明:当前还在众筹,众筹结束,所有订单完成后,开源发布所有相关文件
ODrive Micro 是 ODrive Robotics 推出的一款超紧凑、高性能伺服电机驱动器,旨在使精确的机器人运动比以往任何时候都更容易
性能和规格:



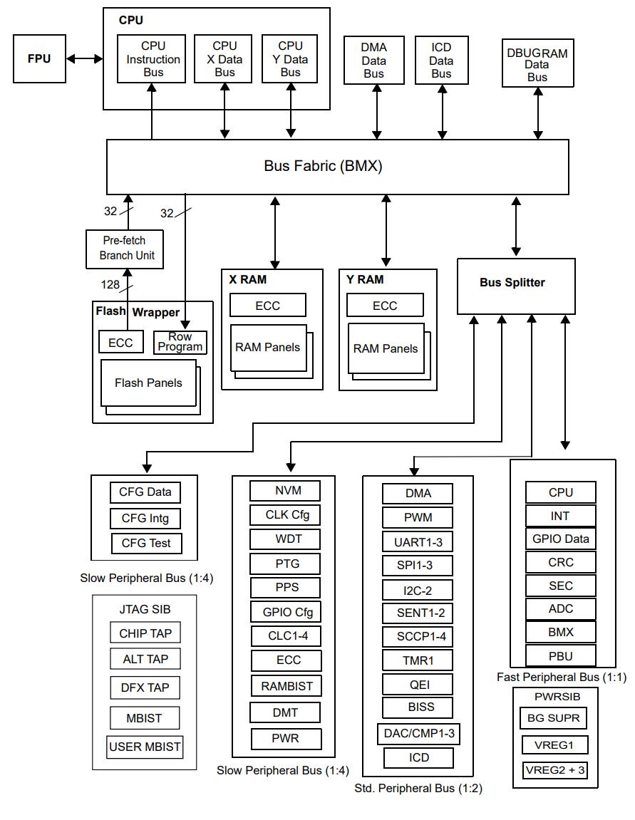
3、MicroChip新款DSC系单片机集成40Msps 12bitADC,100M带宽轨到轨运放,5ns比较器,4组10uA电流源
好久没有这种眼前一亮的单片机推出了,Microchip这个新款,确实可以看看
如果这个是M内核就无敌了,他们自家内核开发起来得费点劲了。
https://www.microchip.com/en-us/products/microcontrollers-and-microprocessors/dspic-dscs

两个40Msps 12bit ADC

三个5ns比较器,三个100M带宽轨到轨运放,4个10uA电流源以及4个30-200uA可调电流源

400M PWM

作为信号处理,双精度浮点和72bit累加器

其它外设:

框图:

4、ST发布用于大电流的无刷电机参考板
https://newsroom.st.com/media-center/press-item.html/n4644.html
用于驱动750 W无刷直流电机。该设计使用 6 个 STL220N6F7 60V STripFET F7 MOSFET,以高达 15A 的电流驱动 18V 至 52V 的 BLDC 电机。N沟道MOSFET的导通电阻低至1.2 mΩ,整个系统的休眠模式功耗小于1 uA


5、使用常规的发光LED做通信传感器
https://hackaday.com/2024/07/23/you-can-use-leds-as-sensors-too/
来自hackaday上分享的一片文章,非常有意思的测试,就是普通LED,并不是专用的红外二极管。
研究人员能够在几厘米的距离内使用常规LED在微控制器之间进行通信,数据速率达到 250bit/s

6、电路仿真软件Protues开始支持Micropython
https://www.labcenter.com/micropython-sim/
好久没有刷到过Protues的消息了,不得不说这是一款非常方便易用的电路仿真测试软件




7、StackOverflow分享2024开发者调查报告,65437人参与,且分享了薪酬信息
https://survey.stackoverflow.co/2024/developer-profile/
调查方向比较多,分享几个有意思的
IDE方向,VS Code和VS勇夺TOP2

操作系统方向,WSL占比越来越大了

嵌入式技术调查里面,有27921人参与了,使用树莓派和Arduino的人是真的多,树莓派高达38.6%,不得不说树莓派的生态确实比较成功

框架和开发库方面,使用QT的比例不太高

年薪TOP10的编程语言里面认识的没几个,C和汇编竟然排了个倒数,看来搞嵌入式的,参与调研的应该不多,但JAVA怎么也是倒数

8、Zephyr要迎来一波起飞,MbedOS退出历史舞台后,Arduino板卡内核将采用Zephyr实现
Mbed已经宣布退出,Arduino使用MbedOS做内核的几款板卡GIGA, Nano 33 BLE, Nano RP2040 Connect, Portenta, Nicla family, and Opta
https://blog.arduino.cc/2024/07/ ... inning-for-arduino/
所以Arduino决定在 2024 年底之前发布这一过渡的第一个测试版,并从 2025 年开始在各种板上推出Zephyr作为产品内核。
有Arduino的助攻,Zephyr的开发者将更上一层楼。

9、Hackaday举办的Tiny小游戏开发设计比赛
https://hackaday.io/submissions/tiny-games-challenge/list
当前已经提交了39个作品:

比如示波器工作在XY模式,使用单片机DAC发送模拟信号,再配合XBox游戏手柄做的乒乓小游戏

10、emWin6.44模拟器发布,同时AppWizard V1.50发布
这次是微更新。
AppWizard:
AppWizardTrial_V150_644_Install.exe (87.96MB)
UM03003_AppWizard.pdf (3.60MB)
emWin6.40模拟器:
SeggerEval_WIN32_MSVC_GUI_V644.zip (74.78MB)
UM03001_emWin.pdf (21.17MB)
模拟器更新记录

AppWizard:

新增了一个简易的界面滑动浏览案例


11、完美解决RTX5源码工程+最新emWin6.40的编译兼容问题,使能C编译器使用C11可解决
最新的emWin6.40仅提供了.a格式库,这个库兼容MDK,IAR和GCC,但是在MDK AC6下使用需要做如下操作
-fno-short-wchar -fshort-enums


他这个操作,正好跟RTX5源码工程添加的一个设置冲突了,通过搜索资料,发现使能MDK使用C11版本编译可以完美解决这个问题:

最终配置如下,确实解决了:



最后就是现在emWin格式库和AppWizard都已经统一采用ARGB格式库,没有再使用ABGR格式了,所以我们也将底层驱动完美配置支持这个格式库。
过两天把Modbus主从机也集成到RTX5 ALL IN ONE工程模板里面,给大家发布升级版。
RTX5全家桶源码综合模板发布,含FreeRTOS内核版本,将其打造成直接面向实际项目应用的综合框架(2024-06-19)
https://www.armbbs.cn/forum.php?mod=viewthread&tid=124516
12、H7-TOOL本周进展
H7-TOOL新版固件2.26发布,增加20多款新系列芯片脱机烧录支持,CAN UDS解析,升级CAN助手,串口助手,RTOS Trace等(2024-08-16)
https://www.armbbs.cn/forum.php?mod=viewthread&tid=125249
当前1拖4和1拖16的脱机烧录完整列表如下
