昨天写了这个 mHz,uV 的采集难点;然后评论区也说了可能有射线,引力波的影响,这些都没有错,但是我们仍然需要它;这篇文章也仍然延续这个话题,提问者还问使用 ADI 的AD8428 可以做这个设计吗?
评估:μV+mHz带宽的采样系统难点(漂移难控制)
现在很少有芯片可以让我眼前一亮了,但是这个仪表放大器做到了!

初见是比较普通的,无妨,继续看数据。
正好使用了一下 ADI 的AI 工具,感觉还是得需要继续努力

初相见这个 2000 增益就知道它还是太权威了
首先AD8428 不是通用可调增益 INA,而是一颗“把超高固定增益、低噪声、高带宽、较高 CMRR”一起做到很强的专用仪表放大器;它的核心定位是:把非常小、但变化又不算慢的差分信号,直接放大 2000 倍,同时尽量不把共模、噪声、漂移和高频寄生问题放大坏。
官方首页就把它定义为固定增益 2000、低噪声、低增益漂移、3.5 MHz 带宽的仪表放大器。
从规格页看,AD8428 最醒目的指标是:

固定增益 G = 2000
输入电压噪声 1.5 nV/√Hz @ 1 kHz
0.1–10 Hz 电压噪声 40–50 nV p-p
CMRR 140 dB min(DC~60 Hz)
增益漂移 5 ppm/°C
失调漂移 0.3 μV/°C
小信号带宽 3.5 MHz
10 V 大步进到 0.01% 建立时间 0.75 μs
电源范围 ±4 V 到 ±18 V

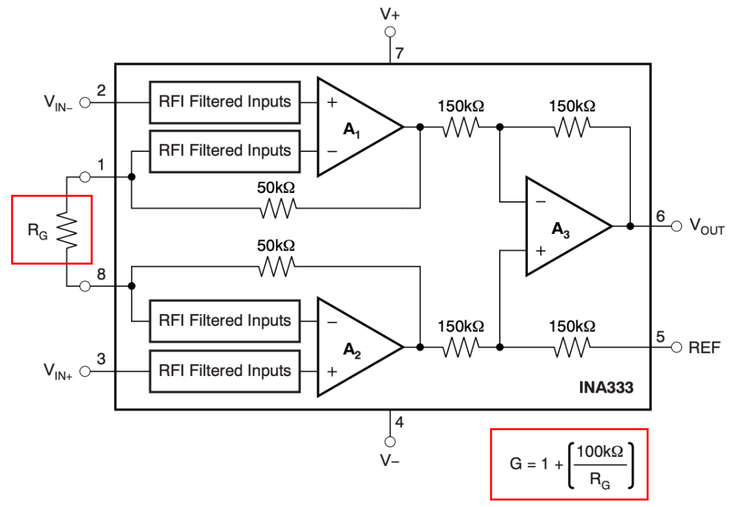
这是 INA333
这组参数组合说明它并不是那种“慢速、低功耗、随便放个热电偶”的普通 INA,而更像:高频小信号传感器前端,超声 / 压电 / 加速度 / 振动,医疗监护里幅度很小但又希望有速度的前端,而且高频高增益链路的第一级。
也就是说,它追求的不是“万能”,而是在 G=2000 这个很夸张的闭环增益下,仍然保持很低噪声、很宽带宽和很快恢复;这正是它最有价值的地方。

一般的仪表放大器会使用一个外置的 Rg 来调节
很多传统 INA 用外接 设增益;优点是灵活,缺点是:外接电阻误差进入增益误差,温漂进入增益漂移;布线寄生、电阻寄生、噪声也会进入系统;在高增益和高频下更难保持一致性。
AD8428表面看很死板,实际上这是它性能强的原因之一。
官方说明里强调,所有增益设定电阻都在芯片内部,而且精密匹配,因此带来了很好的:增益精度,增益漂移,上电后快速稳定,高频 CMRR 表现 。
把 G=2000 做成“芯片内精密固化”,换来更低的增益漂移,更稳定的频响,更高的一致性,更好的高速/高增益表现。
所以它的哲学不是“一个器件应付所有增益”,而是:
如果用户明确就要超高增益,那我把这个增益点做到极致。

这是最值得认真看的部分;第 13 页的理论部分给了简化原理图(英文版)。AD8428 基于经典三运放仪表放大器架构,但做了非常激进的高速化实现。它有两级:
第一级前置放大:增益 200
第二级差分减法器:增益 10
总增益就是:
也就是 200 × 10。
这个问题很关键;文档明确说,传统三运放 INA 在高增益下容易被大干扰信号搞饱和,而 AD8428 把总增益拆成两级,目的是降低前级饱和风险,增大共模范围与差模范围之间的平衡余地。
通俗地说:如果第一极就直接 2000 倍,输入端只要有一点点差模或共模耦合,内部节点马上飞掉;现在第一极只做 200 倍,内部先把微弱差分信号抬起来,但还没大到立刻把自己打饱和;第二级再做 10 倍,同时完成共模去除。
所以这种结构有两个好处:

在中间
AD8428 的一个标志性特征就是:
Pin 2: −FIL
Pin 3: +FIL
它们并不是普通输入端,而是位于第一级和第二级之间的内部节点访问口;文档明确说,这两个端子允许用户在两级放大之间接入网络,改变第二级之前的频率响应。

在这里,还做了输入保护
这意味着用户可以做一些有趣的事:
在 +FIL 和 −FIL 之间加电容 ,得到一级差分低通:
这里 6 kΩ 来自内部电阻。
在两 FIL 之间跨接电阻,可以把总增益从 2000 往下拉。文档给了关系式:
并给出求电阻的公式:
但官方也明确提醒:这样做后绝对增益精度只剩 10% 级别,而且外部电阻温漂会恶化增益漂移。真要在别的增益上追求高精度,建议考虑 AD8429。

也是算用的没本事了
在两 FIL 之间接串联 LC,可形成陷波网络。中心频率为:
Q 值为:
这特别适合已知窄带干扰。
这个设计很高级,因为普通做法是在输入端直接滤波,但输入端滤波常带来几个问题:破坏两输入路径对称性,也会增加源阻抗不平衡,这样做会恶化高频 CMRR;可能让前级更容易被共模拖垮。
而 AD8428 给的 FIL 端子是在两级之间;所以实际上是在:
第一级先把真正的差分信号提上来,然后在第二级前有选择地削掉不想要的频率成分。
这和“输入端瞎加 RC”完全不是一个层级的设计思想,因为输入的信号是非常脆弱的,现在可以比较放肆一点的处理了。
AD8428 前级采用current feedback topology,第一级增益 200,第二级差分放大 10,因此在 G=2000 下还能做到 3.5 MHz 带宽,等效增益带宽积约 7 GHz。

这个数据非常夸张,理解方式是:
当然它不是普通单运放意义上的 GBW,但这个数量级足以说明:这颗芯片不是慢速精密 INA,在超高增益下仍能保留很宽的小信号带宽;很适合微弱高频差分信号。

规格给出:
1.3–1.5 nV/√Hz @ 1 kHz
40–50 nV p-p(0.1–10 Hz)
这非常低,已经接近一些低噪声双极型运放的水平。
1.5 pA/√Hz @ 1 kHz。150 pA p-p(0.1–10 Hz) ;这说明它更适合低到中等源阻抗传感器,因为电流噪声乘上源阻抗后会变成输入等效电压噪声。

输入这里也只是 132k,对高阻抗输入信号是会明显有加载效应的

总输入参考噪声主要由三项构成:源电阻噪声+仪放电压噪声+仪放电流噪声
文档给近似式:
比如两侧总源阻抗分别是 4 kΩ 和 1 kΩ,则电阻热噪声合成约:
若电流噪声约 1.5 pA/√Hz,则对 4 kΩ 和 1 kΩ 两侧:
和器件本身电压噪声 1.5 nV/√Hz 做均方根合成,文档例子得到约:
也就是说,在实际系统里,器件本身不一定是主要噪声源,前端源阻抗经常更关键。
如果测的是桥式传感器、压电、应变、线圈、低阻抗差分源,AD8428 很强;但如果接的是:超高阻抗电极,大电阻分压源;或者mHz/近 DC 生物电高阻电极。
那就要非常谨慎,因为:
一旦 大,电流噪声项会很快抬头;所以它更偏向低阻抗源 + 小信号 + 高频 / 中频。(这是阻抗导致的)

INA 最难的地方就是在这个共模范围
因为一般是 3 个 OP,各种都有自己的限制,所以这个共模范围是要精确选择的,各家都有工具的。

由于三运放结构是先在第一级施加增益,再在第二级去共模,所以内部 Node1/Node2 承受的是:被放大的差分信号,输入共模信号,还有二极管压降;因此即使外部输入和输出看起来都没超限,内部节点也可能先撞到电源轨。

15V 才是真真正正的不浪费性能!
这种图的意思是不能只看:输入差分多大,输出摆幅够不够?还必须同时看:输入共模落在哪?输出想摆到哪??供电是多少?这颗器件在高增益下尤其如此。
它的作用传统意义是做电压抬升的,因为单电源供电会把下半周波抹掉。

首先输出是相对于 REF 定义的,可通过 REF 把输出平移到中点电压,方便接单电源 ADC;但 REF 源阻抗必须远小于 1 Ω,否则会对正输入路径产生不均匀增益,进而恶化 CMRR 。
它还给出一个等效增益关系:
这说明只要 REF 驱动不够硬,内部参考网络就不再理想对称。所以要想性能最好REF 最好:由低噪声缓冲器驱动,走线短,接本地干净基准点;不要把 REF 当成“随便拉个电阻到地”的普通偏置脚!
在去年的文章使用 TI 的文章也写过了:

就是 INA 的引脚有偏置电流,会缓慢积分
因为任何双极型输入前端都需要偏置电流回路;如果信号源本身不能提供回路,比如:热电偶,变压器,电容耦合源;那就必须人为加回路,否则输入会漂到莫名其妙的位置。

在这里
热电偶可加大阻值回路电阻,如 10 MΩ,电容耦合要在两侧补偏置回路;否则会出现输出乱飘、饱和、低频不稳

在这里
供电最大 ±18 V,输入端最大不能超过 ±VS;而且差分输入绝对最大 ±1 V ;注意最后这条非常容易被忽视;因为很多人会觉得“仪表放大器嘛,差分输入当然能很大”,但这颗高增益高速器件不是这样。
第 15 页进一步说,如果可能出现超出电源轨或过大差分输入,必须加串联保护电阻,并给出计算式;如果还想兼顾低噪声,可配合低漏电钳位二极管如 BAV199,并在芯片前串一个小电阻如 33 Ω。

AD8428 很强,但不是“耐造型”,作为高增益前端,要特别注意过载和插拔瞬态;传感器可能开路、热插拔、ESD、感应尖峰时,一定要设计保护。

AD8428 因为高增益 + 低噪声,所以对 RF 整流特别敏感;长导线和长 PCB 走线会把射频带进来,表现成:直流偏移,一串脉冲,莫名其妙的测量误差。
官方推荐的输入 RFI 网络是:每路串 33 Ω,每路对地一个 ,两输入之间一个更大的 ,还可串磁珠。
并给出:
且要求:
主要限共模, 主要限差模;通过让差模电容远大于共模电容,减小匹配误差带来的 CMRR 下降 。(也是老传统了)

非常直观地说明:源阻抗失配会显著吃掉高频 CMRR;也就是说,哪怕芯片本身 DC 到 60 Hz CMRR 可达 140 dB,外围一旦不对称:保护电阻不等,线长不等,输入电容不等,传感器两端阻抗不等;实际系统 CMRR 会比手册理想值差很多。

这颗芯片的另一个亮点是建立时间和大信号恢复:10 V step 到 0.01%:0.75 μs;到 0.001%:1.4 μs;压摆率:40–50 V/μs
这意味着它不仅小信号带宽宽,而且在快速变化时也能很快回到精密状态;适合:需要高增益同时还要抓快速变化的小信号,快速脉冲/冲击/振动波形,甚至后面直接接高速 ADC。
很久没有看到这么有意思的东西了。在 G=2000 这种极高增益下,仍然有很低电压噪声,很高带宽,很高 CMRR,很快建立;而且FIL 端子设计非常高级,给了中间节点频响塑形能力;像一把“高倍、快速、低噪声的精密狙击枪”,不是瑞士军刀。
用好也不容易,要控制 Layout 和传感器的原阻抗。(希望国内也搞出这种东西,虽然不会卖很多,但是绝对是王者级别的东西。)