操作场景
数据迁移任务创建成功后,可查看迁移任务详情(包括源数据库信息、目标数据库信息、迁移类型)、迁移对象、迁移进度详情等。
操作步骤
1. 登录 DTS 控制台,在左侧导航选择数据迁移页,通过以下两个方式查看任务。
方式一:在数据迁移页面,选择指定的迁移任务,单击任务 ID。
方式二:在数据迁移页面,选择指定的迁移任务,在操作列单击查看。

查看任务详情
查看任务基本信息、源库信息、目标库信息。

查看迁移对象
查看迁移对象。

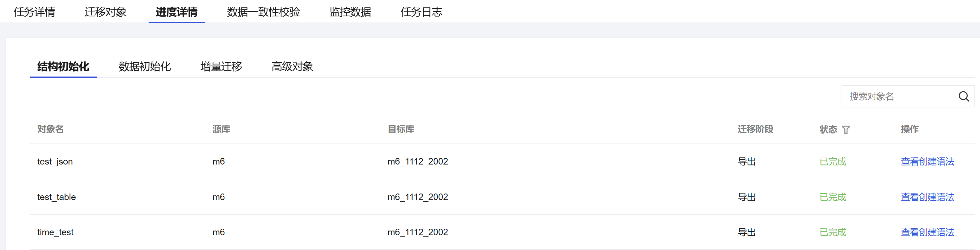
查看进度详情
1. 结构初始化。
显示结构迁移的详情(表,视图的结构迁移信息展示在此页签),每个对象的迁移状态,创建语法等。


2. 数据初始化。
显示数据迁移的详情,表对象的预估行数,已完成行数,迁移状态等。


3. 增量迁移。
显示任务运行状态。


4. 高级对象。
显示高级对象的迁移详情,每个对象的迁移状态,完成时间等。

查看监控数据
查看监控数据。


查看任务日志
支持筛选时间范围,筛选任务状态。
