在物流行业中,货主面临着如何高效管理运输订单、准确把握预计到货时间、如何要求承运商按时到货等挑战。作为一款领先的运输管理系统,优易TMS为货主提供了全新的解决方案。
01
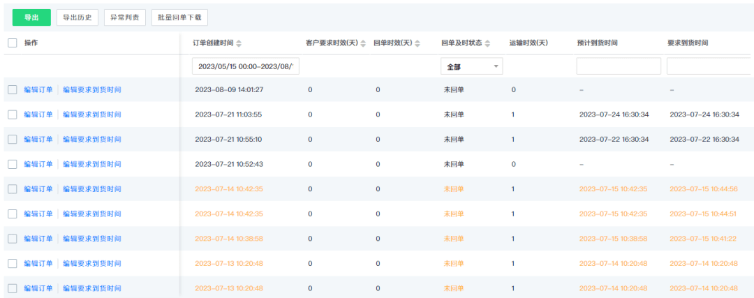
全方位订单监控
通过订单监控中心,您可以轻松管理订单、识别异常并快速处理。

无论是揽收、运输、还是签收,您都可以轻松了解订单的最新状态以及当前订单所在城市。
订单异常是物流运输环节常见但难以避免的问题,订单监控中心通过对异常预警,及时告知您可能出现的问题。您可以采取相应措施,确保订单按时交付,并减少潜在的损失和延误。
您可以在订单监控中心,跟踪回单上传情况、回单审核状态、回单审核人等信息,并且便捷下载回单。
02
精准把控要求到货时间
出于供应链协调、满足客户需求、提高运营效率、建立声誉和获得竞争优势等方面的考虑,货主对要求到货时间非常重视。优易TMS支持货主按照线路配置运输时效,并兼顾批次送货对于运输时效的影响,自动计算得出货主预期的要求到货时间,并同步给承运商系统。承运商按约定时间送货。
03
实时更新预计到货时间
由于运输过程中的突发事件或者不可预见的情况时有发生,承运商需要实时更新预计到货时间,为货主和客户提供准确信息,增强客户满意度,并快速应对异常情况。优易TMS支持承运商在系统上修改预计到货时间,并实时同步给货主系统。同时,收货方可以通过小程序查看真实的预计到货时间,做好接货准备。
优易TMS通过深入了解货主诉求,助力货主实现全方位订单监控,精准把控要求到货时间,实时感知预计到货时间变化等需求。优易TMS将持续为货主提供创新解决方案,提升货主的运输管理水平,实现更高效、可靠的物流运作。